Σύνδεση

Featured

Το ηλεκτρικό Ford F-150 θα είναι πιο δυνατό από το Raptor των 450 ίππων

Όταν είσαι πρώτος εδώ και δεκαετίες φυσικά και δεν έχεις καμία διάθεση να παραχωρήσεις τη θέση σου και κάνεις ότι μπορείς για να τη διασφαλίσεις. Έτσι λοιπόν αυτό που κάνει η Ford για το διαχρονικό της best seller στις ΗΠΑ, το F-150, είναι να δοκιμάζει εντατικά, όπως θα δείτε και στο βίντεο που ακολουθεί, την ηλεκτρική του έκδοση.

Η διάθεση της οποίας θα ξεκινήσει στα μέσα του 2022 και η κατασκευή του θα γίνεται στο Rough Electric Vehicle Center που θεμελιώθηκε πριν λίγες μέρες στο Dearborn -μια από τις παραδοσιακές για τη Ford τοποθεσίες κατασκευής των αυτοκινήτων της. Μάλιστα η εταιρεία θα επενδύσει στο όλο πλάνο περίπου 600 εκατομμύρια ευρώ.

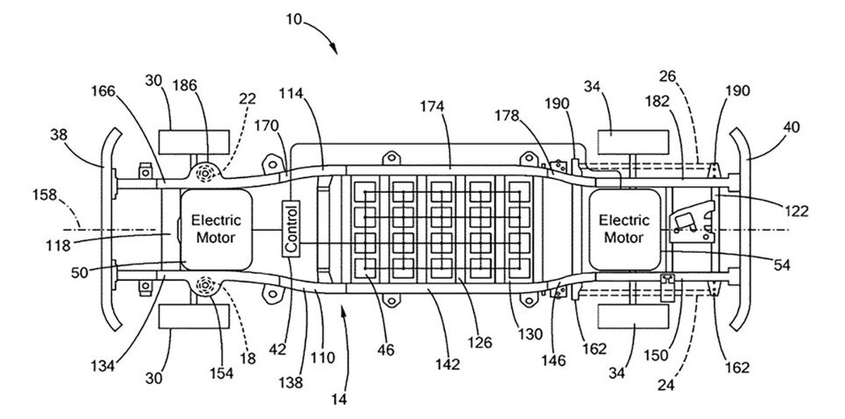
Η βάση του F-150 EV θα είναι το ίδιο πλαίσιο σκάλας που χρησιμοποιείται και στις συμβατικές εκδόσεις του μοντέλου, ενώ οι μπαταρίες θα τοποθετούνται μεταξύ των δοκών και των αξόνων προκειμένου να εξασφαλίζεται το χαμηλό κέντρο βάρους. Στις εκδόσεις με πιο μεγάλο μεταξόνιο θα μπορούν να χρησιμοποιηθούν και μεγαλύτερες μπαταρίες που θα εξασφαλίζουν και μεγαλύτερη αυτονομία και βέβαια θα είναι και πιο ακριβές, ενώ θα υπάρχει και προστατευτική ποδιά από κάτω τους όσο και εγκάρσιες τραβέρσες -για την αύξηση της ακαμψίας αλλά και για την προστασία της συστοιχίας.

Ενδιαφέρον στοιχείο, πάντα σύμφωνα με τη Ford, θα είναι το μεγάλο εμπρός πορτμπαγκάζ -ο όρος που τείνει να καθιερωθεί είναι το frunk- που θα προσφέρει ασφάλεια και θα αυξάνει την πρακτικότητα.

Οι ηλεκτροκινητήρες θα είναι δύο, ένας σε κάθε άξονα, με τον εμπρός να είναι αυτός που θα έχει άμεσα συνδεδεμένος με τα ηλεκτρονικά ελέγχου, ενώ ο πίσω θα ενεργοποιείται μόνο όταν θα υπάρχει λόγος.

Η συνδυαστική απόδοσή τους θα ξεπερνά τους 450 ίππους του F-150 Raptor με τον V6 των 3.500 κυβικών, γεγονός που θα καθιστά το ηλεκτρικό F-150 το πιο δυνατό, το πιο γρήγορο και βέβαια και το πιο ακριβό μοντέλο της γκάμας. Που θα διαφοροποιείται από τα συμβατικά κυρίως μέσω της κλειστής μάσκας του.

Γράψτε ένα σχόλιο

Αφήστε μια απάντηση

Η ηλ. διεύθυνση σας δεν δημοσιεύεται. Τα υποχρεωτικά πεδία σημειώνονται με *

This site uses Akismet to reduce spam. Learn how your comment data is processed.

Τα λάθη που αυξάνουν την κατανάλωση καυσίμου

Featured

Η Mercedes Maybach S Class ανανεώνεται με τεχνολογία αιχμής

Featured

Αυτό είναι το ηλεκτρικό VW ID.Polo

Featured

Το νέο Toyota C-HR+ στην Ελλάδα – Πόσο κοστίζει

Featured